Tubo de Refrigeração para cone HSK

Solicite um orçamento.


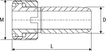
    Desenho Técnico:




    Tabela Técnica: