
Solicite um orçamento.
Cód.: HW-100, 150
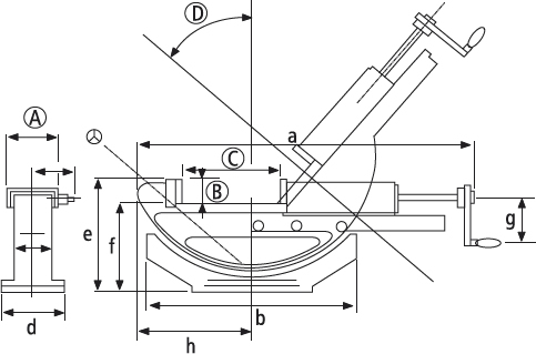
Construída com as mesmas especifi cações da série HH.
Com sua função extra basculante, ela é particularmente indicada para diversos dispositivos especiais além de sua maior versatilidade para outros trabalhos diversos.