
Solicite um orçamento.
Cód.: HG 150-B, D
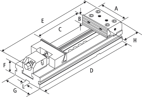
Morsa de alta precisão construída em aço temperado HRC 60.
Retificada com um paralelismo na mesa de 0.005/100mm.
Sistema Angular de Bloqueio Especial, que puxa automaticamente a peça para baixo para as posições precisas.
Exerce o mínimo de esforço de aperto, tendo assim uma altíssima precisão.