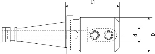
Porta Barra Weldon - DIN 2080

- Encaixe: ISO 40 – DIN 2080
- Porta Barra Weldon DIN 1835

Dimensões:
- d: 6mm
- D: 25mm
- L1: 50mm


    Desenho Técnico:




voltar